#superconductors

Scientific Frontlinesflorg
2025-09-23

When precisely aligned at an angle, these exhibit unique properties that could lead to advancements in computing, and ultraefficient .

sflorg.com/2025/09/ms09232501.

Tim Venturatimventura
2025-09-05

Dr. Eugene Podkletnov discusses new 2025 modification experiments using toroidal coils to levitate several kg/mass & past research with YBCO . FULL INTERVIEW: youtu.be/Ol3K_mXhJ9U

Paul HouleUP8
2025-08-23
Technische Universität Münchentu_muenchen@wisskomm.social
2025-07-23

A new joint #researchproject at our university aims to advance #fusionenergy reactors by studying innovative high-temperature #superconductors (HTS) for #plasma control under extreme conditions: go.tum.de/832536

📷A. Heddergott

rexirexi
2025-07-10

phys.org/news/2025-07-scientis

"We study of light, or in other words, optical systems where light behaves like a , which are much like…." Quentin Glorieux, "The goal…was to see whether it's possible to push this analogy further by creating a mixture of two interacting fluids of light. Mixtures…support rich collective dynamics and offer a new platform for the study of quantum phase transitions, topological structures or even analog gravity."

2025-07-04

High-temperature #superconductors are being used in engines for electric #aircraft. Startup Hinetics tested their superconductor-based motors at 5 and 10 megawatts of power, good enough to power a regional passenger airliner with multiple motors. spectrum.ieee.org/electric-air...

Geekoogeekoo
2025-06-21

They work near absolute zero and may change computing forever. MIT’s cryogenic rectifiers could power the next-gen quantum machines.

geekoo.news/superconducting-se

Climate Solutions NewsClimate_solutions_news
2025-05-21

Superconductivity above 30K and no copper needed.

A new material from NUS could change power transmission. Meanwhile, Stanford backs niobium phosphide to replace copper in ultra-small devices.

Details here: climatesolutions.news/technolo

Geekoogeekoo
2025-04-01

Unlocking the secrets of strange metals: Discover how quantum entanglement at critical points could revolutionize superconductivity.

geekoo.news/unlocking-strange-

2025-03-20

Researchers have created new "supersolids" that's both solid and liquid at the same time. Built on the properties of "polariton" systems, supersolids can show the effects of tiny quantum interactions between particles without temperature. livescience.com/physics-mathem #supersolids #quantumphysics #quantummechanics #physics #quantumcomputing #superconductors

Quantum Physics
N-gated Hacker Newsngate
2025-03-09

🚀🎩 Ah yes, another groundbreaking "discovery" in the realm of , announced with the elegance of a 400 Bad Request error! Because when it comes to scientific breakthroughs, who needs substance when you have server errors to decipher? 🧙‍♂️🔍
phys.org/news/2025-02-nickel-s

Stephen Shanklandstshank@mstdn.social
2025-02-14

"Learning curve" actually has a technical meaning about manufacturing expertise — see up Wright's Law. At Commonwealth Fusion Systems we build magnets 30x faster now than when we first started, Chief Science Officer and Co-founder Brandon Sorbom said at #FusionXInvest this week.

#FusionEnergy #Manufacturing #EnergyTransition #Magnets #Superconductors
blog.cfs.energy/how-cfs-is-bui

Scientific Frontlinesflorg
2025-01-31

can carry without losing energy, a superpower that makes them invaluable for a range of sought-after applications, from maglev trains to

sflorg.com/2025/01/phy01312501

Knowledge Zonekzoneind@mstdn.social
2025-01-13

Solving the #TravellingSalesmanProblem Using a #GeneticAlgorithm : Medium

#Exotic New #Superconductors Delight and Confound : Quanta Mag

#Einstein wins again: Exotic #Gravity theories take a blow from new #Observations : Big Think

Check our latest #KnowledgeLinks

knowledgezone.co.in/resources/

2025-01-02

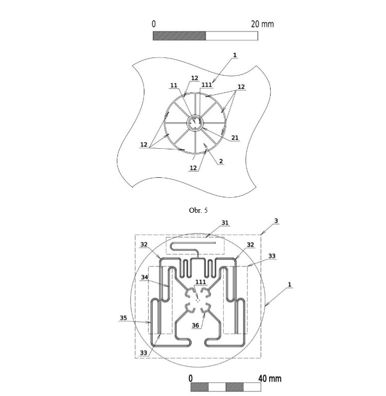
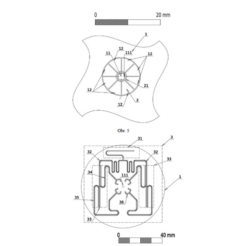
Exciting news! Our team’s first patent on symmetrical microwave feeds for large ion traps is officially published. By using splitters and phase adjusters, we ensure the trap is supplied symmetrically, resulting in more stable and precise electron trapping. This innovation serves as a key foundation for quantum optics and quantum computing.

Our next goal? Implementing high-temperature superconductors like YBCO to cut energy losses, boost performance, and open up new possibilities in quantum tech. If you’re working with superconductors—or share our passion for next-gen quantum hardware—let’s connect and explore collaborations!

Learn more about our patent here:

isdv.upv.gov.cz/webapp/resdb.p

#QuantumTechnology #IonTraps #Superconductors #YBCO #QuantumComputing #Collaboration #Innovation #ResearchAndDevelopment #PatentAnnouncement #Academia #Czechia #CUNI #physics

Patented ion trap microwave feeding circuit.Physical realisation of the patented microwave feeding circuit.
2024-12-29

Exotic new superconductors are breaking expectations, showing behaviours that defy current theories. These discoveries challenge our understanding of quantum materials, from unusual pairing mechanisms to unexpected resilience under magnetic fields. Could they unlock new possibilities in energy transmission or quantum computing? The mystery deepens, and the potential grows. #Superconductors #QuantumMaterials #Innovation
quantamagazine.org/exotic-new-

Client Info

Server: https://mastodon.social
Version: 2025.07
Repository: https://github.com/cyevgeniy/lmst