#DesignPatents

2026-02-12

D889,561 - issued in 2020 for a design for a balloon. #DesignPatents

balloon shaped like the word "party"
2026-02-08

D13,300 - issued in 1882 for a design for a fruit bowl. #DesignPatents

almost crown shaped bowl set on a pedestal, resting in a larger dish. all available surfaces are decorated
2026-02-01

D673,362 - issued in 2013 for a design for a "child's backpack." #DesignPatents

two views of a backpack with a "hinged transparent front display frame"
2026-02-01

D880,998 - issued in 2020 for a design for a "nail with [a] Texas - shaped head." #DesignPatents

pretty much as described in the claim - a very short (or very thick) nail with a nailhead shaped like a flat map of Texas
2026-01-29

D22,611 - issued in 1893 for a design for a memorial tablet. #DesignPatents

from the spec: "Our design is a memorial tablet intended to represent the emblems of Purity, Hope and Faith." The design features a dove above a flower-covered arch
2026-01-28

D409,939 - issued in 1999 for a design for a whistle. #DesignPatents

whistle with two top bumps that's giving alligator-head vibes (but maybe that's just me)
2026-01-25

D684,493 - issued in 2013 for a design for a "ball shaped squeezable whistle." #DesignPatents

football-shaped whistle
2026-01-25

D13,982 - issued in 1883 for a design for a "post office lock box door." #DesignPatents

rectangular door decorated in ornate patterns, with the letters "U" and "S" at the top and "1883" in the middle
2026-01-24

D222,120 - issued in 1971 for a design for an "emergency call box." #DesignPatents

apparatus with a round face and an almost hemispherical shape
2026-01-23

D555,326 - issued in 2007 for a design for a clergy collar. #DesignPatents

round classic clergy collar with a ridged portion on one side
2026-01-19

D48,974 - issued in 1916 for a design for a "Martin Luther memorial badge, pin or button." #DesignPatents

badge showing a simple though surprisingly dynamic depiction of Martin Luther, in a full-length, hooded robe, nailing his 95 theses to the door. the badge says: "400th Anniversary, Luther's Protest"
2026-01-17

D425,581 - issued in 2000 for a design for a "toy pickle character." #DesignPatents

figurine that looks a bit like it could be in the California Raisins backup band
2026-01-16

D747,895 - issued in 2016 for a design for a "medal award display rack and trophy shelf." #DesignPatents

front page of a design patent with a Sub-Feist design for a hanging rack
2026-01-15

D895,378 - issued in 2020 for a design for a "broccoli shaped puree food mold." #DesignPatents

mold apparently designed to make pureed food look sort of like broccoli. and maybe one other thing.
2026-01-12

D949,281 - issued in 2022 for a design for a "mosquito killing lamp." #DesignPatents

apparatus shaped like a cylinder with rounded ends and lots of little openings spaced across the surface
2026-01-12

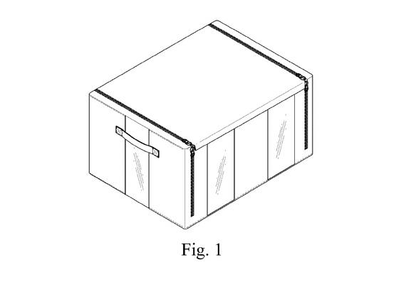
D650,584 - issued in 2011 for a design for a "receipt box." #DesignPatents

rectangular storage box with a front handle and what look like zippers on top
2026-01-12

D736,947 - issued in 2015 for a design for an "underwater hotel." #DesignPatents

some sealab kind of thing
2026-01-11

D121,957 - issued in 1940 for a design for a lapel pin. #DesignPatents

lapel pin shaped like nine hearts hanging from two sticks
2026-01-08

D153,868 - issued in 1949 for a design for "a finger ring or kindred article." #DesignPatents

ring decorated with a set of wings that says "licensed pilot" in unclaimed letters
2026-01-05

D526,660 - issued in 2006 for a design for "an icon for a job submission software application for a document-jobs system user interface." #DesignPatents

enlarged view of a claimed icon design. the icon shows three nested chevrons and an arrow pointing to the right

Client Info

Server: https://mastodon.social
Version: 2025.07
Repository: https://github.com/cyevgeniy/lmst