Playing Rock, Paper Scissors With A Time of Flight Sensor https://hackaday.com/2024/07/16/playing-rock-paper-scissors-with-a-time-of-flight-sensor/ #gesturerecognition #TimeofFlightSensor #rockpaperscissors #timeofflight #MiscHacks #tofsensor
Playing Rock, Paper Scissors With A Time of Flight Sensor https://hackaday.com/2024/07/16/playing-rock-paper-scissors-with-a-time-of-flight-sensor/ #gesturerecognition #TimeofFlightSensor #rockpaperscissors #timeofflight #MiscHacks #tofsensor
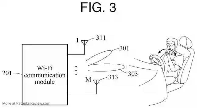
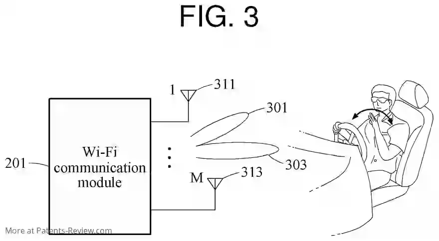
Revolutionizing vehicle control with #Samsung's new patent app US20230278542A1! Using Wi-Fi signals, it recognizes #gestures, faces, or shapes to control various components in your #car. Memory-stored positions and patterns make it possible. #VehicleControl #GestureRecognition
an e-textile datagloves overview >> http://www.kobakant.at/DIY/?p=6730
#e-textiles #wearables #dataglove #VR #motion-capture #gesturerecognition #DIY #wickedfabrics https://mastodon.social/media/BJYIpI4UZcP6216k4aw