#STEM

2025-10-14
2025-10-14

Friendships aren’t just about keeping score – new psychology research looks at why we help our friends when they need it theconversation.com/friendship #psychology #science #STEM

2025-10-14

How pollution and the microbiome interact with Tregs, the immune system regulators whose discovery was honored with the Nobel Prize theconversation.com/how-pollut #immunology #science #STEM

2025-10-14

Can you really be addicted to food? Researchers are uncovering convincing similarities to drug addiction theconversation.com/can-you-re #psychology #science #STEM

2025-10-14

The #Economics #Nobel prize won by researchers who showed how #science boosts growth nature.com/articles/d41586-025 #STEM

The biggest meteor showers of the year are usually the Perseids and Geminids. But this October, a new moon gives the Orionids a true chance to shine, with meteors from Halley's comet itself

bigthink.com/starts-with-a-ban

#stem #science #space #astrophysics #cool

2025-10-13
2025-10-13
2025-10-13

can we stem the tide
of anger and hate flowing
courage must be found

#DailyHaikuPrompt - 10/13/25 - #stem

Prof. R. I. Sujithrisujith
2025-10-13

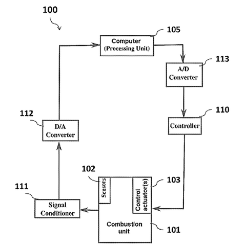
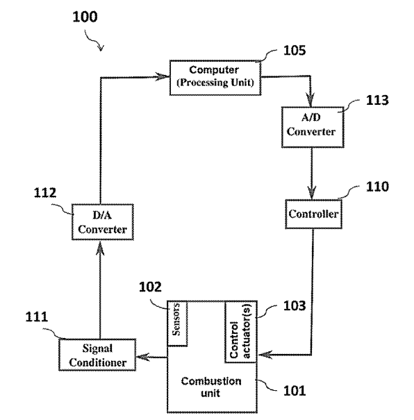
Glad to be granted a patent on prediction & control of blowout in combustion systems by United States Patent and Trademark Office. Our invention predicts the exact blowout time significantly earlier using a log periodic power law & performs control action to prevent the blowout.

Canada's streetcar museum offering tours of Fall forest colours. No word on if they bunch up on the reds

youtu.be/nk1W6Sa9AqQ

#stem #museum #tourism #fall #spiffy #Canada

Association REDefineAssociation_REDefine
2025-10-13

Five teenage girls in Lisbon refused to accept fear as normal.
Their school project — a biodegradable strip that glows when a drink’s been spiked — became one of Europe’s most inspiring youth innovations.

CindyUp is what happens when courage meets design, and safety becomes a civic invention.

Read the full story:
🔗redefine.pt/2025/10/13/designi

A cinematic 16:9 image showing a glowing purple cocktail glass under ultraviolet light, with a single blue droplet suspended above it. On the left side, bold white text reads: “Designing Safety: How Five Students Turned a Crisis into a Civic Invention.” The design evokes innovation, women’s safety, and youth empowerment.
Mfficiencymfficiency
2025-10-13

Lasercutting every day for 100 days. Today a laptop holder! The 25th video in the series where I lasercut every week day for 100 days.
Hope it can motivate you :)

comment or contact me on patron to get all the design files

Marilyn Ward Haiku Poetmalward71
2025-10-13


an autumn wind
weaving the bracken stems
two pheasants

Daniel Pomarèdepomarede
2025-10-13

360° panorama captured just 12 hours ago by Curiosity, from within a trough of the boxwork structure

▶️ zoomhub.net/w2kgN
▶️ 360cities.net/image/curiosity-

Oct. 12, 2025 - Sol 4687
Credit images: NASA/JPL-Caltech

A black and white mosaic of 20 images capturing a Martian landscape, with some elements of the Mars rover Curiosity displayed in the foreground. The tracks of rover descending into the trough can be seen on the left hand side of the mosaic.
WIRED - The Latest in Technology, Science, Culture and Businesswired.com@web.brid.gy
2025-10-13

Client Info

Server: https://mastodon.social
Version: 2025.07
Repository: https://github.com/cyevgeniy/lmst